ANELLI RASCHIATORI PER STELI

ANELLI RASCHIATORI PER STELI

RG - RM - RPG - RPGR - RPM - RGP

Vedi tutti gli articoli
ANELLI RASCHIATORI IN FKM

ANELLI RASCHIATORI IN FKM

Vedi gli articoli
ANELLI RASCHIATORI IN NBR

ANELLI RASCHIATORI IN NBR

Vedi gli articoli
ANELLI RASCHIATORI POLIURETANO SAF

ANELLI RASCHIATORI POLIURETANO SAF

Vedi gli articoli
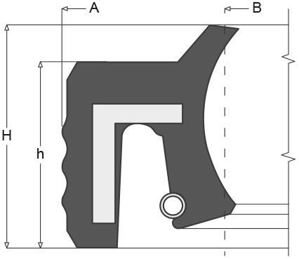
RASCHIATORE ESTERNO METALLO RM

Raschiatore standard in gomma, con corpo esterno in metallo. SEDE MONTAGGIO: deve essere lavorata secondo norme ISO H8 e completa di smusso. TEMPERATURA: Range -25 / +100 °C compound NBR Range -20 / +100 °C compound FKM VELOCITÀ LINEARE: 2 m/s IMPIEGO: Raschiatore per steli a movimento lineare alternativo Ø ESTERNO: Metallo

Vedi gli articoli
RASCHIATORE ESTERNO METALLO RPM

Profilo speciale con metallo esterno e doppio labbro raschiatore sagomato. SEDE MONTAGGIO: deve essere lavorata secondo norme ISO H8 e completa di smusso. TEMPERATURA: Range -25 / +100 °C compound NBR Range -20 / +100 °C compound FKM VELOCITÀ LINEARE: 2 m/s IMPIEGO: Raschiatore speciale per steli a movimento lineare alternativo Ø ESTERNO: Metallo COSTRUZIONE: Scatolino metallico + Doppio labbro raschiatore sagomato

Vedi gli articoli
RASCHIATORE GOMMA-METALLO RG

Raschiatore standard in gomma, con rinforzo metallico interno. SEDE MONTAGGIO: deve essere lavorata secondo norme ISO H8 e completa di smusso. TEMPERATURA: Range -25 / +100 °C compound NBR Range -20 / +100 °C compound FKM VELOCITÀ LINEARE: 2 m/s IMPIEGO: Raschiatore per steli a movimento lineare alternativo Ø ESTERNO: Ricoperto di gomma COSTRUZIONE: Scatolino metallico ricoperto di gomma + Labbro raschiatore

Vedi gli articoli
RASCHIATORE GOMMA-METALLO RGP

Come il profilo RG, con labbro parapolvere. SEDE MONTAGGIO: deve essere lavorata secondo norme ISO H8 e completa di smusso. IMPIEGO: Raschiatore per steli a movimento lineare alternativo Ø ESTERNO: Ricoperto di gomma COSTRUZIONE: Scatolino metallico ricoperto di gomma + Labbro raschiatore + Parapolvere

Vedi gli articoli
RASCHIATORE GOMMA-METALLO RPG

Profilo speciale con doppio labbro raschiatore, e rigatura sul diametro esterno. SEDE MONTAGGIO: deve essere lavorata secondo norme ISO H8 e completa di smusso. TEMPERATURA: Range -25 / +100 °C compound NBR Range -20 / +100 °C compound FKM VELOCITÀ LINEARE: 2 m/s IMPIEGO: Raschiatore speciale per steli a movimento lineare alternativo Ø ESTERNO: Ricoperto di gomma COSTRUZIONE: Scatolino metallico ricoperto di gomma + Doppio labbro raschiatore + Rigatura esterna

Vedi gli articoli
RASCHIATORE GOMMA-METALLO RPGR

Profilo speciale con inserto metallico di rinforzo. SEDE MONTAGGIO: deve essere lavorata secondo norme ISO H8 e completa di smusso. TEMPERATURA: Range -25 / +100 °C compound NBR Range -20 / +100 °C compound FKM VELOCITÀ LINEARE: 2 m/s IMPIEGO: Raschiatore speciale per steli a movimento lineare alternativo Ø ESTERNO: Gomma COSTRUZIONE: Corpo e labbro raschiatore speciale in gomma + Anello metallico di rinforzo

Vedi gli articoli