Paraoli con esterno in metallo tipo "M"

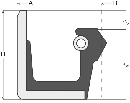
M

M

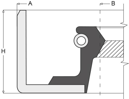
Anello di tenuta in gomma-metallo costruito secondo norma DIN 3760. Il diametro esterno è in metallo. Il labbro viene finito da taglio per ottenere uno spigolo di tenuta senza imperfezioni, ed energizzato con una molla toroidale. PRESSIONE: Fino a 0.5 BAR (0.05 MPa) IMPIEGO: Tenuta Radiale Ø ESTERNO: Metallo COSTRUZIONE: Scatolino metallico + Labbro di tenuta + Molla toroidale

Vedi gli articoli

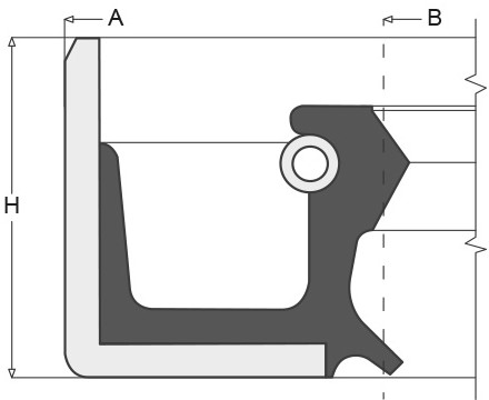
M2

M2

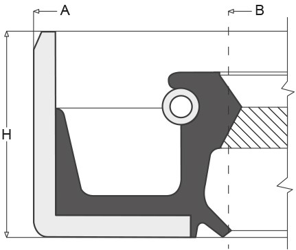
Anello di tenuta con diametro esterno in metallo, doppio labbro e doppia molla toroidale. Assicura un sistema di tenuta compatto in alloggiamenti con spazio limitato, e per separare due differenti tipi di fluidi. PRESSIONE: Fino a 0.5 BAR (0.05 MPa) IMPIEGO: Tenuta Radiale Ø ESTERNO: Metallo COSTRUZIONE: Scatolino metallico + Doppio labbro di tenuta + Due molle toroidali

Vedi gli articoli
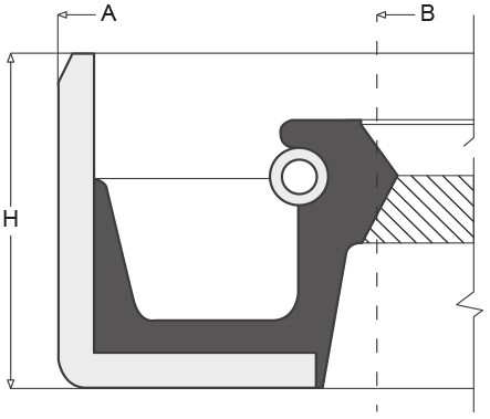
MGPZD

Anello di tenuta parzialmente ricoperto in gomma. Utilizzato durante le manutenzioni per sostituire anelli con il diametro esterno in metallo (tipo M). Una volta tolto l’anello originale, la sede può presentare danneggiamenti causati dalla sua estrazione. La parte in gomma della famiglia MG ha la funzione di garantire la tenuta statica anche in presenza di tali danneggiamenti. Il tipo MGPZD presenta una rigatura a destra (D) sull’interno del labbro di tenuta e limita l’uso a senso unico della tenuta (DESTROSA). PRESSIONE: Fino a 0.5 BAR (0.05 MPa) IMPIEGO: Tenuta Radiale Ø ESTERNO: Metallo + Gomma con rigatura COSTRUZIONE: Scatolino metallico + Rivestimento parziale in gomma con rigatura + Labbro di tenuta + Molla toroidale + Rigatura destrosa (D) + Parapolvere

Vedi gli articoli
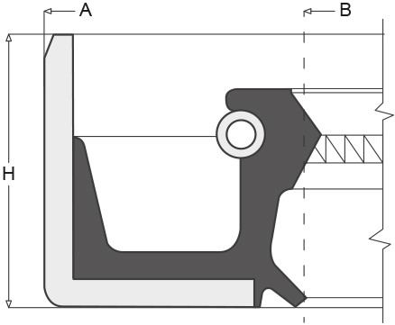
MGPZS

Anello di tenuta parzialmente ricoperto in gomma. Utilizzato durante le manutenzioni per sostituire anelli con il diametro esterno in metallo (tipo M). Una volta tolto l’anello originale, la sede può presentare danneggiamenti causati dalla sua estrazione. La parte in gomma della famiglia MG ha la funzione di garantire la tenuta statica anche in presenza di tali danneggiamenti. Il tipo MGPZS presenta una rigatura a sinistra (S) sull’interno del labbro di tenuta e limita l’uso a senso unico della tenuta (SINISTROSA). PRESSIONE: Fino a 0.5 BAR (0.05 MPa) IMPIEGO: Tenuta Radiale Ø ESTERNO: Metallo + Gomma con rigatura COSTRUZIONE: Scatolino metallico + Rivestimento parziale in gomma con rigatura + labbro di tenuta con molla toroidale + Rigatura sinistrosa (S) + Parapolvere

Vedi gli articoli

MP

MP

Come il profilo M, con labbro parapolvere. PRESSIONE: Fino a 0.5 BAR (0.05 MPa) IMPIEGO: Tenuta Radiale Ø ESTERNO: Metallo COSTRUZIONE: Scatolino metallico + Labbro di tenuta + Molla toroidale + Parapolvere

Vedi gli articoli
MPZD

Come il profilo MZD, con labbro parapolvere. PRESSIONE: Fino a 0.5 BAR (0.05 MPa) IMPIEGO: Tenuta Radiale Ø ESTERNO: Metallo COSTRUZIONE: Scatolino metallico + Labbro di tenuta + Molla toroidale + Rigatura destrosa (D) + Parapolvere

Vedi gli articoli
MPZS

Come il profilo MZS, con labbro parapolvere. PRESSIONE: Fino a 0.5 BAR (0.05 MPa) IMPIEGO: Tenuta Radiale Ø ESTERNO: Metallo COSTRUZIONE: Scatolino metallico + Labbro di tenuta + Molla toroidale + Rigatura sinistrosa (S) + Parapolvere

Vedi gli articoli
MPZT

Come il profilo MZT, con labbro parapolvere. PRESSIONE: Fino a 0.5 BAR (0.05 MPa) IMPIEGO: Tenuta Radiale Ø ESTERNO: Metallo COSTRUZIONE: Scatolino metallico + Labbro di tenuta + Molla toroidale + Rigatura bidirezionale + Parapolvere

Vedi gli articoli

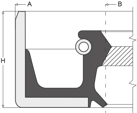
MZD

MZD

Anello di tenuta con diametro esterno in metallo e rigatura conica sulla superficie interna del labbro. Solitamente utilizzato nell’industria automobilistica, ed in particolare per gli alberi di guida. La rigatura a destra (D) limita l’uso a senso unico della tenuta (DESTROSA). PRESSIONE: Fino a 0.5 BAR (0.05 MPa) IMPIEGO: Tenuta Radiale Ø ESTERNO: Metallo COSTRUZIONE: Scatolino metallico + labbro di tenuta + Molla toroidale + Rigatura destrosa (D)

Vedi gli articoli

MZS

MZS

Anello di tenuta con diametro esterno in metallo e rigatura conica sulla superficie interna del labbro. Solitamente utilizzato nell’industria automobilistica, ed in particolare per gli alberi di guida. La rigatura a sinistra (S) limita l’uso a senso unico della tenuta (SINISTROSA). PRESSIONE: Fino a 0.5 BAR (0.05 MPa) IMPIEGO: Tenuta Radiale Ø ESTERNO: Metallo COSTRUZIONE: Scatolino metallico + labbro di tenuta + Molla toroidale + Rigatura sinistrosa (S)

Vedi gli articoli

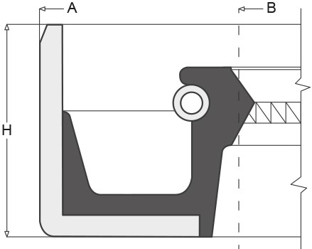
MZT

MZT

Anello di tenuta con diametro esterno in metallo e rigatura conica bidirezionale sulla superficie interna del labbro. Solitamente utilizzato nell’industria automobilistica, ed in particolare per gli alberi di guida. PRESSIONE: Fino a 0.5 BAR (0.05 MPa) IMPIEGO: Tenuta Radiale Ø ESTERNO: Metallo COSTRUZIONE: Scatolino metallico + Labbro di tenuta + Molla toroidale + Rigatura bidirezionale

Vedi gli articoli