PISTON SEALS

PISTON SEALS PDEP

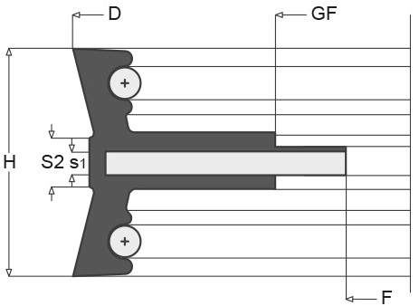
PDEP is a double-acting piston particularly suitable for pneumatic cylinders. It is made of NBR or FKM compounds, with a hardness of 70 Shore A, with special sealing profiles vulcanized onto a central steel plate.
PRESSURE: Up to 10 BAR (1 MPa)
TEMPERATURE: Range -30°C / +100°C
LINEAR SPEED: Up to 0.5 m/s
USE: Reciprocating linear movement
Ø EXTERIOR: Rubber
CONSTRUCTION: Double sealing lip without spring + Reinforcement metal disc

View the articles
PISTON SEALS PDE

The PDE is a symmetrical piston with double-acting operation for reciprocating straight-line movements. It is a product created specifically for use in hydraulics, in an NBR or FKM compound with a hardness of 85° Shore A and complete with toroidal expansion springs, which ensure an exact radial contact pressure.
PRESSURE: Up to 40 BAR (4 MPa)
TEMPERATURE: Range -30°C / +100°C
INEAR SPEED: Up to 0.5 m/s
USE: Reciprocating linear movement
Ø EXTERIOR: Rubber
CONSTRUCTION: Double sealing lip + Double toroidal spring + Reinforcement metal disc

View the articles
PISTON SEALS FP-EGR

The PDE is a symmetrical piston with double-acting operation for reciprocating straight-line movements. It is a product created specifically for use in hydraulics, in an NBR or FKM compound with a hardness of 85° Shore A and complete with toroidal expansion springs, which ensure an exact radial contact pressure.
PRESSURE: Up to 40 BAR (4 MPa)
TEMPERATURE: Range -30°C / +100°C
LINEAR SPEED: Up to 0.5 m/s
USE: Reciprocating linear movement
Ø EXTERIOR: Rubber
CONSTRUCTION: Double sealing lip + Double toroidal spring + Reinforcement metal disc

View the articles
SEALS FP ROTO EGR

Bidirectional seal consisting of a PTFE compound pad coupled to an elastomer O-ring with an energizing function for rotating, oscillating or helical pistons. Mounted in slots in accordance with ISO 7425.
Diameters ø: 6 – 2500mm Pressure: up to 30 MPa (300 bar) Temperatures: - 45°C + 200 °C depending on the compound of the combined O-ring. Rotation speed: 1 m/s continuous in the presence of lubrication

View the articles
PISTON SEALS LRP

Bidirectional seal consisting of a PTFE compound pad coupled to an elastomer O-ring with an energizing function for rotating, oscillating or helical pistons.
Mounted in slots in accordance with ISO 7425. Diameters ø: 6 – 2500mm Pressure: up to 30 MPa (300 bar) Temperatures: - 45°C + 200 °C depending on the compound of the combined O-ring. Rotation speed: 1 m/s continuous in the presence of lubrication

View the articles
PISTON SEALS RP

Tenuta a doppio effetto per impiego pneumatico e idraulico composta in due parti composta da un anello sagomato e un o-ring come elemento di precompressione. Temperatura dì esercizio: da -30 a + 200 °C a seconda della mescola dell'o-ring abbinato. Pressione: max. 20 MPa (200 bar) Velocità di scorrimento:max. 4 m/s

View the articles
LIP SEALS DE-DEM

Gasket is suitable for dynamic seals on a single lip, the external one. It does not require a stop ring as the internal static seal lip, of a more robust shape, serves as a stop against the axial movement of the gasket in its seat. It supports operating pressures up to 8 MPa (80 bar).

View the articles
LIP SEALS U-UM

Structurally robust gasket and must be mounted with the interposition of a stop ring that prevents the gasket from moving axially in its seat.
The stop ring must not press the gasket into its seat, but must allow a gap of 0.5 ÷ 1 mm. Furthermore, it is necessary to drill a series of holes in the ring which have the purpose of equally dividing the pressurized fluid on the two sealing lips. These seals can be mounted on both piston and cylinder and can withstand pressures of up to 12 MPa (120 bar).

View the articles
LIP SEALS C

Gasket normally mounted on the piston with a plate as indicated in the technical drawing; the result is therefore a seal that is not completely automatic. They are commonly called caps and can be used with pressures that do not exceed 4 MPa (40 bar).

View the articles
LIP SEALS M

Structurally robust gasket and must be mounted with the interposition of a stop ring that prevents the gasket from moving axially in its seat.
The stop ring must not press the gasket into its seat, but must allow a gap of 0.5 ÷ 1 mm. Furthermore, it is necessary to drill a series of holes in the ring which have the purpose of equally dividing the pressurized fluid on the two sealing lips. These seals can be mounted on both piston and cylinder and can withstand pressures of up to 10 MPa (100 bar).

View the articles